頂點光電子商城2024年2月19日消息:近日,國內領先的射頻芯片公司昂瑞微(OnMicro),重磅推出了超低功耗藍牙SoC芯片OM6626,為CGM設備保駕護航。
昂瑞微OM6626是一款超低功耗的藍牙SoC(系統級芯片),專為低功耗藍牙系統和專有的2.4 GHz應用程序設計。以下是OM6626的主要特性:

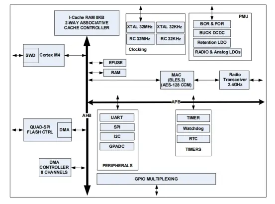
支持BLE 5.3:OM6626支持最新的藍牙低功耗(BLE)5.3標準,提供了更高的性能和更低的功耗。
SIG Mesh支持:該芯片支持SIG Mesh網絡協議,適用于需要高可靠性和廣覆蓋范圍的設備連接。
2.4G長包支持:OM6626支持2.4G長包傳輸,使得數據傳輸更加高效。
主頻64MHz:芯片主頻達到64MHz,提供了強大的處理能力。
80KB RAM:內置80KB的RAM,為應用程序提供了充足的內存空間。

功能框圖
超低功耗:OM6626在功耗方面表現出色,1秒間隔廣播平均電流僅為9uA,1秒間隔連接平均電流為7uA。這使得它在電池供電的設備中具有更長的使用壽命。
射頻性能優異:OM6626的射頻性能出色,最大發射功率可達10dBm,且在1Mbps傳輸速率下全通道接收靈敏度范圍為-99dBm~-101dBm。
靈活的包格式:支持靈活可配的包格式,可以與多個廠商實現互聯互通。
支持低速率傳輸:傳輸速率可以從25Kbps到2Mbps,滿足不同應用場景的需求。
豐富的外圍IO擴展:集成了GPIO、SPI、UART等豐富的外圍接口,方便與外部設備連接。

引腳圖
電源管理單元(PMU):集成了電源管理單元,提供高效的電源管理,延長設備運行時間和電池循環壽命。
應用場景廣泛:主要應用在電子價簽(ESL)、IoT模組、連續血糖監測(CGM)、高報告率HID設備等領域。
總的來說,昂瑞微OM6626是一款功能強大、性能穩定、功耗極低的藍牙SoC芯片,適用于各種低功耗藍牙和專有的2.4GHz應用場景。OM6626的推出,可實現從CGM到智能戒指等健康監測設備,從Smart Tag(物品追蹤器)到燒烤探針等生活便利裝置,以及其他復雜的物聯網領域擴展應用,并實現本土低功耗藍牙SoC的自主可控,市場空間巨大。OM6626的誕生,將幫助國內醫療行業廠商加速CGM的本土化進程,搶奪國內大市場,助力國內CGM供應鏈企業快速崛起。
此外,昂瑞微擁有完整的PA/FEM產品線系列,其產品覆蓋2G、3G、4G、5G Phase5N、L-PAMID和L-PAMIF全系列,是國內首家同時擁有可大規模量產的CMOS PA和GaAs PA技術的廠商。昂瑞微深耕射頻前端和無線通信領域,持續致力于打造具有超強競爭力的模擬/射頻/器件領域的世界級芯片公司。
鄂公網安備 42011502001385號 鄂ICP備2021012849號